Dual Loop Cascaded Position Control¶
Overview¶
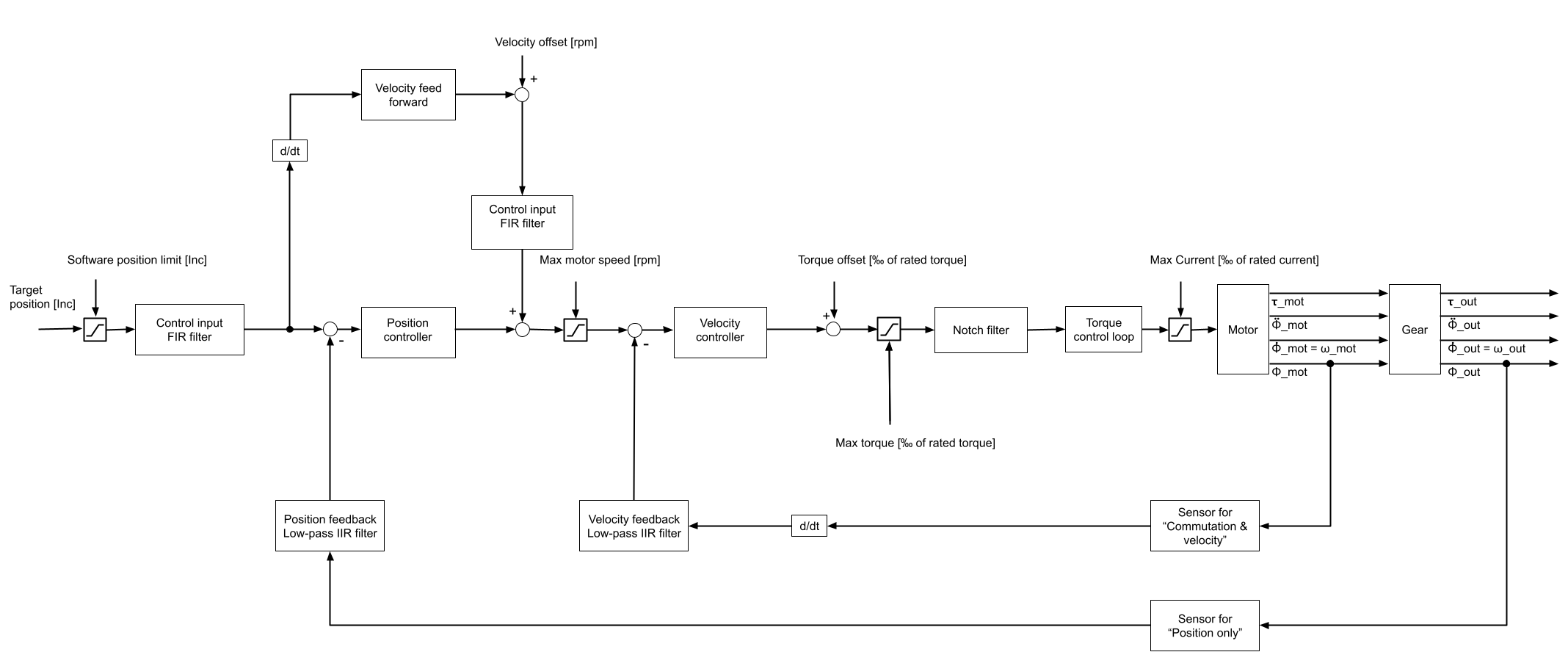
Using a gear can cause inaccuracy when only the shaft is controlled.
A second encoder can be attached to the output shaft after the gear for an optimized position control.
Attention
The velocity FIR filter is before velocity feed forward until firmware 4.4.9! Only in the soon-to-be-released firmware 4.4.10 it will be at the shown position.
Usage¶
Set the first encoder at the input shaft to “Commutation & Velocity”
Set the second encoder at the output shaft to “Position only”
Ensure that the gear ratio is set correctly in object 0x6091.

